冷凝器換熱器(中央空調)膠球清先裝置的使用影響?
冷凝器換熱器(中央空調)膠球清先裝置的使用影響?目前隨著我國建筑行業的快速發展,特別是高層建筑;在這些建筑中普遍安裝有垂直電梯方便人員和貨物的進出,但目前垂直電梯中所使用的空調中的冷凝系統單純通過扇熱翅片進行被動散熱,存在著散熱效率低,散熱翅片尺寸大的缺陷,需要有一種散熱效率高的產品來滿足實際的使用需求。

中央空調作為賓館、商場、商務大樓等商業、公共建筑的重要設施,其運行狀況不但直接影響企業形象與經營效果,在工業領域中央空調更是滿足正常生產或工藝要求不可或缺的設備,但是它是公共建筑中最大的耗能設備。在空調系統運行中,冷凝器內壁不可必免產生嚴重的污垢、生物粘泥。污垢對熱交換效率影響非常大,進而導致機組耗電劇增,換熱效率低,尤其是生物沾泥,雖然非常薄,但對熱交換效率的影響卻達硬質結垢的十倍左右。而且這些污垢、生物粘泥會縮短冷凝器、壓縮機等設備的使用壽命,嚴重者被迫停機。
人工清洗不能實現對冷凝器連續在線的清洗,在清洗完后,只要機器連續運行24小時,冷凝器就會重新被污染,效率再度降低,在清洗的間隔內,機組已經額外消耗了大量的能源。因此傳統辦法無法徹底根治冷凝器的腐蝕、結垢問題,同樣存在熱阻增大,額外耗能等弊端。
冷凝器換熱器(中央空調)膠球清先裝置,與現有產品相比,散熱效率高、能耗小,具有較好的使用推廣價值。冷凝器換熱器(中央空調)膠球清先裝置包括底盤、控制器、冷凝器、撥水電機、撥水輪、水位監測傳感器、軸流風機和軸流風葉;冷凝器由兩片翅狀散熱片組成,在兩片翅狀散熱片之間設置有空隙,在兩片翅狀散熱片之間空隙的底部設置有撥水輪,撥水輪與撥水電機的輸出軸連接;在底盤上安裝有軸流電機,軸流電機的輸出軸上安裝有軸流風葉,軸流風葉位于冷凝器內側,在底盤上還安裝有水位監測傳感器和控制器。所述的撥水電機、水位監測傳感器均與控制器連接,控制器根據水位監測傳感器的反饋信號,控制撥水電機的工作狀態。所述的翅狀散熱片中,位于外側的翅狀散熱片寬度大于位于內側的翅狀散熱片。所述的撥水輪為圓盤狀轉輪,轉輪的邊緣設置有凹凸狀的撥水齒,用于撥動底盤積蓄的冷卻水。
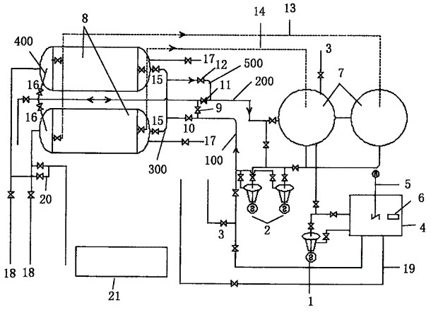
冷凝器膠球自動在線清洗裝置工作原理:
冷凝器膠球自動在線清洗裝置采用純物理方法,利用系統自帶水泵加壓,將清洗膠球從裝球室發送到冷凝器進水管中,依靠水流產生的沖刷力和膠球與換熱管壁產生的摩擦力擦洗掉換熱管內壁的水垢、污垢以及微生物膜。在冷卻水出口端通過收球網利用水流力學原理和膠球泵自吸力將球回收裝球室,從而完成一次清洗循環。控制器可設置清洗次數或清洗時間,以及隨空調主機的開啟自動運行功能,實現全自動在線清洗。始終保持冷凝管內壁潔凈,從而提高了冷凝器的熱交換效率,降低能耗,提高能效,節省能源。
膠球清洗裝置的應用范圍:
⑴電廠的凝汽器清洗
⑵中央空調冷凝器清洗;
⑶水冷管殼式冷凝器、蒸發器、換熱器;
⑷所有采用水介質的管殼式換熱器。尤其是工業企業,例如鋼鐵、化工、醫藥等場合,換熱器效率的高低也直接關系到工藝水平產品質量,因此冷凝器膠球清洗裝置的使用已成為正常生產的有效保障。
膠球清洗裝置給用戶帶來的利益:
①降低空調機組消耗量10-30%;
②保持管束持久清潔;
③治理冷凝器管束腐蝕,延長冷凝器壽命;
④優化熱交換效率;
⑤免除冷凝器人工清洗;
⑥減少壓縮機損耗,延長壓縮機壽命。